Samsung запатентовала летающий дисплей, управляемый глазами - «Финансы и Банки»


У дрона также потенциально могут быть возможности распознавания голоса, а также GPS и система позиционирования на основе Wi-Fi.
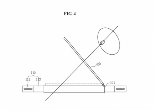
Новый патент Samsung описывает беспилотный дрон со встроенным дисплеем, проще говоря — летающий дисплей, с технологией распознавания лиц. Он способен распознать и отслеживать лицо и положение зрачков человека, а также за жестами и расположением рук. Дрон представляет собой небольшой дисплей с четырьмя пропеллерами на каждом углу.
Аппарат оборудован камерой и системой наблюдения для передачи информации в основной блок управления. Система может отслеживать глаза, голову, руки или пальцы пользователей в режиме реального времени. Скорость и направление полета дрона-дисплея можно контролировать, перемещая голову, глаза или руки, устройство также может автоматически отслеживать пользователей без каких-либо дополнительных жестов.
В патенте описывается «объединенный манипулятор», который может изменять угол наклона полета. Само устройство не ограничено четырехугольной формой — дрон можно будет переконфигурировать. Угол наклона дисплея может быть точно отрегулирован во время полета. У дрона также будет блок обнаружения препятствий, который позволит ему автоматически избегать столкновения с любыми объектами во время полета.
Цитирование статьи, картинки - фото скриншот - Rambler News Service.
Иллюстрация к статье - Яндекс. Картинки.
Есть вопросы. Напишите нам.
Общие правила поведения на сайте.
Смотрите также:

В Швейцарии появился экзоскелет для управления дроном - «Финансы и Банки»
Инженеры Федеральной политехнической школы Лозанны, Швейцария, разработали экзоскелет FlyJacket, с помощью которого можно управлять дроном. Об этом пишет The Verge. Для начала работы с системой

Дмитрий Медведев: «Ситуация в экономике не кризисная, но она предгрозовая» - «Интервью»
Правительство Дмитрия Медведева проработало первые полгода. В интервью «Ъ» премьер-министр рассказывает о будущем «Роснефти» и идеологических спорах в Белом доме, об общественных настроениях и

Банк видит тебя насквозь: останется ли у клиентов хоть одна часть тела, по которой их не смогут идентифицировать - «Финансы»
Банкомат, который опознает вас, просто увидев. Финансовый гаджет, который подтвердит трансакцию прикосновением. Офис банка, который откроется в любое время дня и ночи от одного вашего взгляда.

Герман Клименко: «Все не то, чем кажется» - «Интервью»
Тем, кто хоть немного в теме российского Интернет-бизнеса, объяснять, кто такой Герман КЛИМЕНКО, не нужно. Тем, кто далек от Интернета и жизни российского сетевого комьюнити, объяснить будет сложно.
Минимальная длина комментария - 50 знаков. комментарии модерируются