Apple запатентовала «огибающий» дисплей для электронных устройств - «Финансы и Банки»


Управление США по патентам и торговым маркам (USPTO) выдало компании Apple очередной патент на разработку в сфере мобильных устройств.
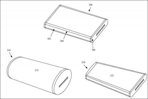
В документе №9,146,590 речь идёт о так называемом «электронном устройстве с огибающим дисплеем» (Electronic device with wrap around display). Идея заключается в том, чтобы применять в гаджетах экраны, способные к деформации — в частности, к изгибанию.
На иллюстрациях, сопровождающих патент, изображено мобильное устройство, имеющее дисплей дугообразной формы. Предполагается, что такая конструкция позволит реализовать новые режимы просмотра изображения, а также даст возможность выводить на экран дополнительную информацию.
Кроме того, по задумке Apple, под изогнутым дисплеем сможет располагаться вспомогательный экран, благодаря чему можно будет добиться 3D-эффекта: пользователи смогут просматривать стереоскопическое изображение без дополнительных очков.
Таким образом, полагают наблюдатели, «яблочная» империя в перспективе может выпустить смартфоны и фаблеты с изогнутым дисплеем или экраном, загибающимся на боковые стороны корпуса. Такие гаджеты составят конкуренцию аппаратам Samsung Galaxy Edge. Впрочем, сама Apple о планах по использованию гибких дисплеев ничего не говорит.
Цитирование статьи, картинки - фото скриншот - Rambler News Service.
Иллюстрация к статье - Яндекс. Картинки.
Есть вопросы. Напишите нам.
Общие правила поведения на сайте.
Смотрите также:

В Lenovo изобрели необычный смартфон-трансформер - «Финансы и Банки»
Управление США по патентам и торговым маркам (USPTO) раскрыло дизайн весьма любопытной разработки Lenovo — трансформируемого смартфона с гибким дисплеем. Конструкция предусматривает использование

LG создает складывающийся пополам смартфон - «Финансы и Банки»
Компания LG разрабатывает собственный складной смартфон с гибким дисплеем. Об этом свидетельствует патентная заявка, описывающая данную разработку. Патент LG описывает вполне обычный по внешнему

В Google придумали ноутбук с саморегулируемым экраном - «Финансы и Банки»
Управление США по патентам и торговым маркам (USPTO) выдало компании Google патент на любопытную разработку в области портативных компьютеров. Документ носит имя «Notebook computer with motorized

Apple выпустит iPhone 8 в трех версиях - СМИ - «Финансы и Банки»
Компания Apple выпустит в 2017 году три модели iPhone, включая 4,7-дюймовую версию с LCD-дисплеем и одинарной камерой, 5,5-дюймовую версию с LCD-дисплеем и двойной камерой, а также новую модель с
Минимальная длина комментария - 50 знаков. комментарии модерируются