Amazon запатентовала браслеты для контроля за сотрудниками - «Финансы и Банки»

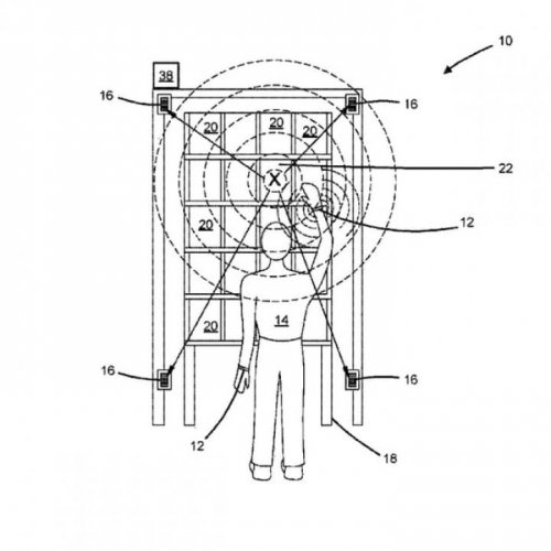
Компания Amazon запатентовала наручный браслет, который будет отслеживать положение рук работников склада и контролировать их действия. Если сотрудник начнет класть товар в неправильный контейнер, тактильная обратная связь укажет ему на ошибку. Предполагается, что такой подход позволит повысить эффективность работы сотрудников.
Об этом пишет Дело со ссылкой на The Guardian.
Дело в том, что скорость поиска — один из ключевых моментов работы Amazon. Когда покупатель делает заказ, все детали сразу же отправляются на планшеты сотрудников склада. Тогда им нужно как можно быстрее найти товар среди бесчисленных полок и отсеков, запаковать и ждать следующего заказа. Предполагается, что браслет сэкономит сотрудникам много времени и сил. Не нужно будет сканировать штрих-коды, привязанные к конкретному отсеку или лишний раз нажимать кнопки на соответствующем складском оборудовании.
Кроме того, ультразвуковой браслет будет периодически отправлять импульсы в специальный приемник сигналов, с помощью которого можно отследить, в каком из складских помещений находится сотрудник, где конкретно он ищет товар и насколько эффективно выполняет заказы. По сути, работников таким образом полностью лишат приватности: при желании начальство будет знать, сколько раз за день они почесали нос.
Amazon славится низкими зарплатами для персонала и неуемным стремлением превратить их в “живых роботов”, которые по таймеру выполняют монотонные задачи на складе. Поэтому идея тотальной слежки вряд ли понравятся сотрудникам, которые и без того уже устраивали забастовки, например, в прошлую “черную пятницу”.
Смотрите также:
Дмитрий Медведев: «Ситуация в экономике не кризисная, но она предгрозовая» - «Интервью»
Правительство Дмитрия Медведева проработало первые полгода. В интервью «Ъ» премьер-министр рассказывает о будущем «Роснефти» и идеологических спорах в Белом доме, об общественных настроениях и
Константин Шор: «Деньги, видимо, выбирают особых людей» - «Интервью»
Из окон кабинета начальника московского управления ЦБ Константина ШОРА открывается роскошный панорамный вид на Кремль, Красную площадь и храм Христа Спасителя. Шор сам придумывал проект этого здания
Андрей Белоусов: «Все требует денег» - «Интервью»
Современная экономическая повестка неясна и противоречива. Социальный популизм, гигантские оборонные расходы — и одновременно с этим введение бюджетного правила, ограничивающего другие расходы. Что
Сергей Алексашенко: «Тема откатов за кредиты в российском банковском сообществе обсуждается давно» - «Интервью»
В Москве прошла серия обысков по делу о незаконной банковской деятельности, был задержан за получение взятки в крупном размере предправления Росбанка. О том, как коррупция в России влияет на
Минимальная длина комментария - 50 знаков. комментарии модерируются